>
>
> >>
>
> >>
>>
>轴向磁通电机> >是一种特殊的电机,其结构和工作原理与传统的径向磁通电机有所不同。在轴向磁通电机中,定子和转子的磁路方向是沿着电机轴线布置的,即>磁场沿轴向流动>。> >
>
>
>
>结构上的区别也不小>,> >轴向磁通电机的定子铁芯和转子铁芯通常是采用>多层盘状结构>,>且相互之间有一定>间隙>或通过>非导磁材料>隔开>。> >
>>当定子绕组接通交流电源时,会产生变化的磁场,这个磁场与转子上的永磁体> >(或电磁场)> >相互作用,在两者的交界面形成一个>轴向的旋转磁场>。根据>电磁感应定律>,这个旋转磁场会驱动转子>跟随磁场的方向转动>,从而输出机械动力。> >
>
>
>
>同时,由于磁场的轴向分布,也使得>单位体积内的磁通量较高>。因此,轴向磁通电机在>相同尺寸下可以提供更高的扭矩密度>。> >
>总的来说,轴向磁通电机利用的是>沿轴向传播的磁场来将电能>转换>为机械能>,独特的结构使其具备>高效>、>紧凑>的特点,但也需要解决好>散热>和>力学稳定性>等技术难题。本期>「>专利说」>笔者从以下几个问题角度,探究>轴向磁通电机的技术案例。>
>◎>轴向磁通电机局部过热>和>绝缘失效>的问题>
>◎>轴向磁通电机磁场分布和>磁场谐波>的问题>
>◎>轴向磁通电机定子的磁路饱和的问题>
>>◎>轴向磁通电机>转矩密度和解析方法的问题> > >
>01>.>
>>中国一汽> >(>CN117335587A>)> >
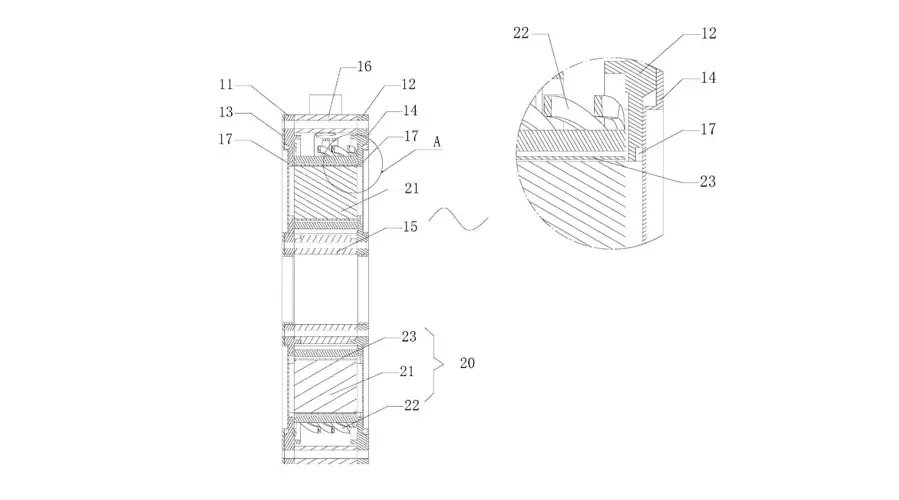
>>轴向磁通电机在高速运行时会产生>大量热量>,除了绕组以外,>定子齿>也会发热,现有技术传统冷却结构多用于绕组冷却,很少考虑定子齿的冷却,当电机转速达到几千甚至几万时,定子齿的损耗将会呈> >指数倍增> >,此时定子齿会将热量传递给>绝缘纸>或者>绝缘层>,导致绝缘纸或者绝缘层>因高温而失效>。> >
>>中国一汽> >的这款专利主要目标是解决现有技术中>轴向磁通电机定子齿散热>不良导致>局部过热>和>绝缘失效>的问题。> >
>>该发明的轴向磁通电机结构包括:>壳体组件>,且具备冷却液进出口;>定子铁芯组件>,位于壳体内,包含多个定子铁芯和绕组,绕组沿铁芯周向布置。> >
>
>
>
>在定子铁芯端面上设有>导流槽>,绕组与壳体间形成>冷却通道>,通道与导流槽相连通,确保冷却液从入口进入,通过通道后从出口流出。> >
> >>具体设计是,把相邻的定子铁芯在两端分别设置导流槽,形成连续的冷却通道。> >
>
冷却通道由多个>组>成段按壳体周向顺序连通>,并通过导流件>优化液体流动路径>。>
>
■>34(导流件)>
>此结构还包括>定子外壳>、>端盖>、>分隔板>等部件,用于构建并隔离不同的冷却通道部分,同时保证冷却液能有效流入绕组和定子齿之间进行散热。>
>在>定子支架>、>护板>和>内壳>等部位也设置了>导流结构>和>安装孔>,以利于冷却液流动和导流件的安装。>
>
■>32(第一分隔板)32(第二分隔板)321(导流孔)> > >322> >(导线孔)>
>>此外,部分定子铁芯的一端还设有>定子齿靴>,通过支架连接到多个定子铁芯上,>增强整体结构稳定性>及>散热效果>。> >
>
>
>■> >17(定子齿靴)22(定子绕组)23(绝缘层)> >
>>应用此专利技术方案的轴向磁通电机能够确保>冷却液均匀分布至各个定子铁芯和绕组位置>,>加强对定子齿的冷却>,从而避免电机局部过热,提高电机整体性能和使用寿命。> >
>02>.>
>>星驱科技> >(CN218071280U)> >
>>星驱科技> >的这款专利介绍了一种>创新的轴向磁通电机定子结构>及包含该定子结构的轴向磁通电机。> >
>>该专利的主要目的是通过>设计不同尺寸的极靴>以及>填充于其中的不同尺寸的芯体>,来>局部调整定子齿的磁感强度>,从而平衡磁场分布,有效降低齿槽转矩、转矩脉动,提高电机输出转矩并减少磁场谐波。> >
>
>该定子结构包括>定子轭>、>定子齿>(由多个第一极靴和多个第二极靴沿周向间隔排列组成)>以及>芯体>(分为填充至第一极靴的第一芯体和填充至第二极靴的第二芯体)>。> >
>
>第一芯体和第二芯体在垂直于定子齿中心轴线的平面上>横截面积不相等>,> >以此实现>磁场强度的局部调节> >。极靴组也是按照特定方式>(如两个第一极靴夹一个第二极靴)>沿周向排布的,以优化磁场分布均匀性。> >
> >>其中,第一极靴和第二极靴内分别设有沿轴向延伸的第一凹槽和第二凹槽,并填充对应的芯体,这样可以> >简化设计与安装过程> >。> >
>>凹槽设计为>T型槽>,并且详细定义了各个方向上的尺寸参数,以便进一步>优化磁场分布>和>减小谐波影响>。定子轭设> >计成>圆环状>,并设置有多个>插接槽>,用> >于将极靴沿轴向插入固定,简化装配过程并确保限位可靠。> >
>
>此外,在极靴上还设置了>沿径向延伸的气隙槽>,用以抵消>有害谐波分量>,>降低磁场谐波并改善转矩脉动性能>。根据制造需求,定子轭与芯体可以选择>分体成型>或>一体成型>,前者>降低制造精度要求和成本>,后者> >简化装配工艺> >。> >
>>

>
>
03>.>
>盘毂动力>(>CN219436735U>)>
>盘毂动力>的这款专利描述了一种>轴向磁通混合励磁磁通切换电机的设计>,该设计通过将>励磁线圈>与>电枢线圈>分别设置在不同的定子上>(中间定子和两侧的第一、第二电枢定子)>,以缓解>定子的磁路饱和问题>,>并提高电机的>过载能力>。>
>
>
>
>该专利的电机主要由> >五个部分同轴安装组成>:>第一电枢定子>、>第一转子>、>中间定子>、>第二转子> >和> >第二电枢定子> >。> >
>>其中,中间定子包含> >励磁线圈和永磁体> >,而第一电枢定子和第二电枢定子装有> >电枢线圈> >。第一转子和第二转子上都设置了> >导磁块> >。> >
>
>
>
>中间定子铁芯上有> >沿圆周方向排列> >的第一定子齿和位于相邻齿之间的第一定子槽。励磁线圈可以> >缠绕在第一定子齿上> >,而永磁体可> >选择性地固定> >在> >第一定子槽底部> >、槽开口位置或直接粘接在定子齿端面上,并采用> >切向充磁> >或> >法向充磁> >的方式。> >
>
>
>
>第一电枢定子和第二电枢定子> >结构相同> >,都有定子铁芯及在其上的定子齿和定子槽,电枢线圈缠绕在第二定子齿上。> >
>>第一转子和第二转子均包括> >转子支架>,>支架端面设有多个第一限位通槽> >,槽内安装> >导磁块> >。并且,第一转子和第二转子关于中间定子> >对称分布> >,而第一电枢定子与第二电枢定子也关于中间定子对称设置。> >
>
>
>>这种设计通过将电励磁> >(励磁线圈)> >与永磁体励磁> >分开布置> >在不同定子上,减少了因在同一定子上> >集中布置> >导致的> >磁路饱和现象> >,> >增大了定子绕组槽的空间利用率> >,从而提> >升了电机在过载情况下的工作性能>。> >
> >>
>04>.>
>>合肥工业大学> >(> >CN117477881A)> >
> >>
>目前现有的技术在>双定子单转子轴向磁通>电机领域的研究还相还是对较少的、结构也比较单一。> >
>>尽管轴向磁通电机在一些特定应用领域中已被广泛研究和运用,但在整个电机领域中的研究仍处于起步阶段。与传统径向磁通电机相比,轴向磁通电机虽会产生>更高的平均转矩>,但同样会伴随着>更大的转矩脉动>,>增加电机设备的噪声>,对设备的使用和工作环境产生较大的影响,所以>电机拓扑结构>仍有很大的提升空间。> >
>>针对轴向磁通电机的解析方法仅适用于>无槽结构>,无法对>不等厚不同剩磁材料>的>Halbach阵列结构>进行解析建模,且大多数均采用对>三维解析>进行降维来简化计算,这样的降维解析方法并不适用于所有的双定子单转子轴向磁通电机,数据处理也较为复杂,容易产生>较大的误差>,计算结果精确度不高。> >
>>合肥工业大学> >公布的一项专利描述了一种>设计新颖且解析方法独特的海尔贝克阵列轴向磁通电机>,旨在解决现有技术中转矩密度不高和解析方法不适用于有槽结构及不等厚、不同剩磁材料的Halbach阵列结构的问题。> >
>>该电机采用双定子单转子结构,其中定子用于缠绕线圈,并设有多个>沿环向均匀分布的定子槽>。> >
>
>
>
>在定子与转子之间的空隙中布置了由多个环向磁极构成的海尔贝克磁极阵列。每个磁极由>三段永磁体组成>,分别是>中间永磁体>以及>两侧的顺时针侧永磁体>和>逆时针侧永磁体>。> >
>
>
>
>这三段永磁体形状为>扇环形>,并以特定的>角度>和>厚度>分布,以实现优化的磁场分布和较高的转矩密度。> >
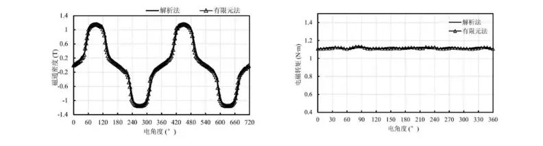
>>此外,该发明还提出了一套>详细的解析方法>,通过>精确子域模型>法将电机内部空间划分为>三个区域>:>内部子域、中间子域>和>外部子域>,并分别针对这些子域建立三维坐标系下的>泊松方程>和>拉普拉斯方程>。> >
>>运用>分离变量法>求解>标量磁位φ>的一般表达式,并根据>安培环路定律>和>磁通连续性原理>,结合>奇延拓>和>偶延拓>处理,得到>磁场强度H>和>磁通密度B>的准确表达式。> >
>>此外,考虑到定子槽的影响,引入>卡特系数>计算实际有效气隙长度,并重新计算磁通密度B,最终依据电磁感应定律计算出线圈各相的>反电动势>和>电磁转矩>。> >
>
>■> >(轴向气隙磁密解析法和有限元对比验证)和(电磁转矩解析法和有限元对比验证)> >
>>该专利有> >两项主要优点>:> >
>>◎>该新型电机利用不等厚、不同剩磁材料的Halbach阵列>提高了转矩密度>,>并减少了转矩脉动>。> >
>◎>此外,还提供了一种能精确分析具有定子槽结构和不等厚、不同剩磁材料Halbach阵列的双定子单转子轴向磁通永磁电机的通用三维解析方法。>
>>OK,本期> >专利说> >暂时告一段落,我们下期再会。> >
> >> >
>
-END->
>
>
>
> > >>
> >












沪公网安备31010702008139